Murgang (Übermurung)

Ein Murgang ist ein langsam bis schnell fliessendes Gemisch aus Wasser und Feststoffen mit einem hohen Feststoffanteil (Geschiebe, Erdmaterial und Holz), das häufig in mehreren Schüben in steilen Gerinnen niedergeht. Geläufige Bezeichnungen sind auch Mure, Schlammstrom, Schlammlawine, Geröll-Lawine oder Rüfe. Hangmuren sind spontane, flachgründige Lockergesteinsrutschungen mit einem hohen Wasseranteil, die rasch und murgangartig hangabwärts fliessen. Sie treten in steilen Hängen auf. Der Bewegungsmechanismus von Murgängen hat Ähnlichkeiten mit Lawinen, u.a. weil die grössten Komponenten und höchsten Geschwindigkeiten am «Kopf» des Murgangs auftreten. Murgänge brechen oft in einzelnen Schüben los, wobei die Erosion und Ablagerung jedes Murschubs das Gerinne verändern kann. Da sich somit sehr komplexe Prozessverkettungen ergeben können bis hin zur Gerinneverlagerung, kommt der Definition von Szenarien und der Analyse möglicher Ausbruchsstellen aus dem Gerinne besondere Bedeutung zu. Weil in der Regel keine ausreichende Vorwarnzeit besteht, kommen zum Schutz von Gebäuden nur permanente bauliche Massnahmen in Frage, allenfalls kombiniert mit Nutzungsanpassungen.
Die nationalen Schutzziele für Neubauten beziehen sich auf die Norm SIA 261/1. Diese Norm legt das 300-jährliche Ereignis fest als Schutzziel für normale Wohn- und Gewerbegebäude (BWK I) gegen gravitative Naturgefahren (Hochwasser, Erdrutsch, Murgang, Steinschlag, Lawine). Zudem sind die kantonalen und kommunalen Vorgaben zu respektieren, wobei diese die Anforderungen der Norm SIA 261/1 in der Regel nicht übersteigen. Konkret muss das Gebäude auch bei seltenen Ereignissen (300-jährlich) intakt bleiben und die sich darin befindenden Personen schützen.
Ab Bauwerksklasse II sind höhere Anforderungen zu erfüllen (Bedeutungsbeiwerte und Höhenzuschläge gemäss SIA 261/1).
Murgänge in Gerinnen sind sehr gefährlich, weil sie hohe Geschwindigkeiten bis 20 m/s erreichen und viel Masse mit sich führen können. Deshalb lösen Murgänge oft eine erhebliche Tiefen- und Seitenerosion aus (vgl. Ufererosion bei Hochwasser). Im flacheren Gelände oder bei seitlicher Ausbreitung verringert sich die Geschwindigkeit auf 2 bis 7 m/s bei Fliesshöhen von 0.5 m bis 3 m. Verliert ein Murschub an Geschwindigkeit und an Wasser, kann er sich im Gerinne ablagern und damit den Ausbruch nachfolgender Murschübe erleichtern. Solche Verstopfungen im Gerinne und Verklausungen führen speziell bei Engstellen und Durchlässen unter Brücken häufig zum Ausufern des Murgangs und zu Ablagerungen auf dem Murkegel. Während einem Niederschlagereignis können sich im selben Gerinne durchaus mehrere Murschübe ereignen.
Tritt ein Murgang über das Gerinne hinaus, spricht man von Übermurung. Die massgebenden Einwirkungen sind einerseits die Stosskraft der mitgeführten Feststoffe und andererseits das dynamische Umfliessen des Feststoff-Wassergemischs. Je nach Lage und Form wird ein Gebäude lediglich um- oder überflossen. Heftiger ist der direkte Anprall, gerade bei grossen Gesteinsblöcken oder Baumstämmen. Grössere Murgänge in den Alpen haben Geschiebevolumen von einigen 100'000 m3 talwärts transportiert, kleine Murgänge lediglich einige 100 bis 1'000 m3.
Hangmuren (spontane Rutschungen) können an steilen Hängen entstehen, wenn der Untergrund Schichten geringerer Festigkeit aufweist und stark durchnässt ist. Das Losbrechen der wassergesättigten Erdmasse erfolgt plötzlich. Der hohe Wasseranteil führt zu einer sehr schnellen Bewegung und zur vollständigen Umlagerung des Bodenmaterials. Die Einwirkung auf Gebäude ist mit der Übermurung aus Gerinnen vergleichbar, wobei Hangmuren eher feinkörnig sind.
Sowohl für Murgänge in Gerinnen als auch für Hangmuren ist keine Vorwarnung möglich. Die Ausnahme bilden Wildbäche, in denen flussaufwärts Sensortechnik installiert werden kann, wenn die Vorwarnzeit entsprechend lang ist. Solch aufwändige Installationen werden nur in Ausnahmefällen vorgenommen, z.B. wenn dadurch ein ganzes Dorf geschützt oder ein Verkehrsweg bei einem Ereignis gesperrt werden kann.
Die Anstiegsgeschwindigkeit va beschreibt die Schnelligkeit, mit der das Wasser bei Überschwemmungen ansteigt. Dieser Wert ist entscheidend für die Einschätzung der Bedrohung von Personen in und ausserhalb von Gebäuden. Bei Überschwemmungen wegen Verklausung (Verstopfung durch Schwemmgut bei Brücken, Durchlässen und Engstellen), bei Dammbrüchen oder der Verlagerung eines Gerinnes ist die Anstiegsgeschwindigkeit hoch.
Bauwerksklasse BWK: Bauwerke werden gemäss SIA 261 Ziffer 16.3 in drei Bauwerklassen (BWK I-III) eingeteilt. Die Bauwerksklasse dient in einfacher Art und Weise zur Abstufung des Schutzgrades entsprechend des Risikos.
Bedeutungsbeiwert γf: Beiwert zur Gewichtung der Bauwerksklasse für die Bemessung.
Die Fliessgeschwindigkeit vf kann bei Überschwemmungen in steilem Gelände (≥ 5-10 %) über 2 m/s erreichen. So hohe Geschwindigkeiten treten insbesondere entlang kanalisierter Bereiche auf (z.B. Strassenzüge und Trockenrinnen). In flacherem Gelände (< 2 %) reduziert sich die Geschwindigkeit auf deutlich unter 2 m/s.
Höhenzuschlag hγ: Zuschlag zur Gewichtung der Bauwerksklasse für die Bemessung.
Die Rückstauebene ist die höchste Ebene, bis zu der das Wasser in einer Entwässerungsanlage ansteigen kann. Es wird unterschieden zwischen: a) errechneter Rückstauebene gemäss Generellem Entwässerungsplan (GEP) und b) maximal möglicher Rückstauebene. Letztere entspricht der maximalen Fliesshöhe.
Der Schutzgrad wird durch die Einteilung des Bauwerks in eine Bauwerksklasse (BWK) I, II oder III gemäss SIA 261 festgelegt.
Die Stauhöhe hstau gibt an, wie stark sich die Fliesshöhe beim Zufliessen auf ein Hindernis zusätzlich erhöht.
Die Überschwemmungsdauer beginnt zum Zeitpunkt der Benetzung mit Wasser und endet, wenn sich das Wasser vollständig zurückzieht.
Vorwarnzeit: Dauer von der Gefahrenerkennung bis zum Überschwemmungsbeginn.
Die Wellenhöhe hwellen bei Seehochwasser ist zu berücksichtigen.
Die Wirkungshöhe hwi wird ermittelt, indem die Fliesshöhe hf mit dem Höhenzuschlag hγ, der Stauhöhe hstau und der Wellenhöhe addiert werden.
Gemäss SIA 261/1 bedarf es folgenden Intensitätsangaben für die Bestimmung von Einwirkungen und für die Bemessung von Objektschutzmassnahmen:
- Fliesshöhe hf,
- Fliessgeschwindigkeit vf,
- Richtung der Einwirkung,
- Mächtigkeit von Feststoffablagerungen,
- Charakteristik von möglichen Einzelkomponenten.
Diese Angaben sind den Intensitätskarten und dem technischen Bericht zur Gefahrenkarte zu entnehmen. Existieren keine Intensitätsangaben, sind diese von einer Fachperson zu ermitteln.
Symbol / Einheit | Bezeichnung |
---|---|
Ak [kN] |
Statische Ersatzkraft bei Anprall |
cd [–] |
Widerstandsbeiwert, dynamischer Faktor |
cρ [–] |
Druckbeiwert |
g [m/s2] |
Erdbeschleunigung (9.81 m/s2) |
h [m] | Dicke der Betonplatte, Höhe Betonbalken |
ha [m] |
Ablagerungshöhe von Feststoffen |
he [m] |
Einbindetiefe des Bauwerks im Baugrund |
hf [m] |
Fliesshöhe |
hg [m] |
Gebäudehöhe |
hk [m] |
Kolktiefe |
hu [m] |
Tiefe der Ufererosionen |
hru [m] |
Tiefe der Gleitfläche der Uferrutschung |
hstau [m] |
Stauhöhe am Hindernis |
hwi [m] |
Wirkungshöhe |
hγ [m] |
Höhenzuschlag |
l [m] | Spannweite |
lgw [m] |
Länge der Gebäudewand |
m [kg] | Masse |
qf [N/m2] |
hydrodynamischer Druck (Hochwasser, Murgänge) |
qf,β [N/m2] |
Um den Ablenkwinkel ß reduzierter hydrodynamischer Druck |
qfa [N/m2] |
Druck infolge Feststoffablagerungen |
qfr [N/m2] |
Spezifische Reibung |
qw [N/m2] |
Hydrostatischer Druck |
qwe [N/m2] |
Hydrostatischer Druck auf Höhe der Einbindetiefe |
qwf [N/m2] |
Hydrostatischer Druck auf Höhe des Terrains |
ts [h] |
Überschwemmungsdauer |
ti [h] |
Interventionszeit |
tv [h] |
Vorwarnzeit (Dauer von Gefahrenerkennung bis Überschwemmungsbeginn) |
va [m/h] |
Anstiegsgeschwindigkeit |
vf [m/s] |
Fliessgeschwindigkeit |
vn [m/s] |
Nominelle Geschwindigkeit der Sturzkomponente |
ρfa [kg/m3] |
Dichte der Feststoffablagerung |
ρhw [kg/m3] |
Dichte des Hochwassers |
ρm [kg/m3] |
Dichte des Murgangs |
α [°] |
Anprallrichtung |
β [°] |
Öffnungswinkel des Spaltkeils, Hangneigung |
Die folgenden Gefährdungsbilder beschreiben den Anprall und das Umfliessen von Wasser-/Feststoffgemischen bezogen auf Gebäude. Diese Einwirkungen können durch Murgänge, Hangmuren und durch oberflächlich abgleitende Spontanrutschungen entstehen.
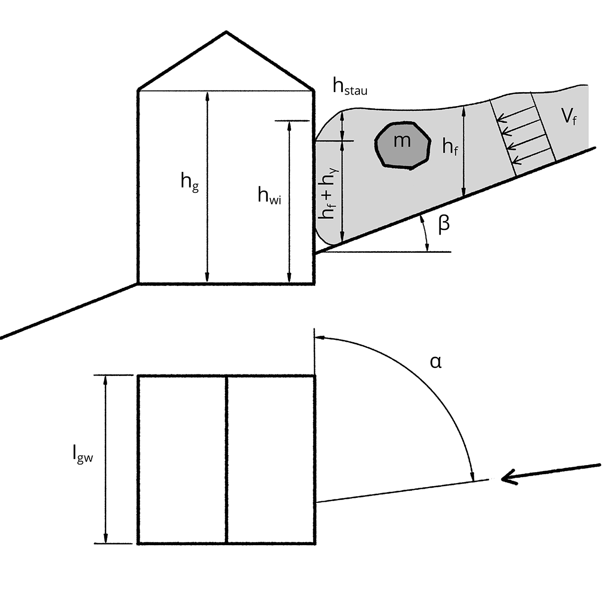
Gefährdungsbild 1: Murgang prallt auf Bauwerk
Das Gemisch aus Wasser und Feststoffen prallt an ein Gebäude. Durch den Anprall entsteht eine Stauhöhe hstau, welche zusammen mit der Fliesshöhe hf des Murganges die Gebäudehöhe hg nicht überragt. Auf die Dachkonstruktion wird daher keine direkte Beanspruchung ausgeübt. Massgebend ist der entstehende Druck qf auf der Gebäudeaussenseite. Dieser wird durch die Gebäudeform, die Dichte und die Geschwindigkeit des Murganges beeinflusst. Die Geschwindigkeit vf wird über die gesamte Fliesshöhe als konstant angenommen. Für die Seitenwände und alle schräg angeströmten Wände ist ein um den entsprechenden Ablenkwinkel α reduzierter Druck zu berücksichtigen. Weitere Einwirkungen sind Reibungskräfte qfr und Anprallkräfte von Einzelkomponenten einer Ersatzkraft Ak.

Gefährdungsbild 2: Murgang umfliesst Gebäude dank Ablenkungsmassnahmen
Fliesst ein Murgang schräg auf ein Ablenkbauwerk (beispielsweise Spaltkeil, Leitmauer oder -damm) zu und umfliesst es, wirken Drücke und Reibung. Auf das Ablenkbauwerk wirkt der um den Ablenkwinkel β reduzierte Druck qf,ß. Der Ablenkwinkel β darf höchstens 30° betragen, da die Ablenkwirkung sonst verloren geht und es sich um einen Anprall handelt (Gefährdungsbild 1). Zudem muss der Spaltkeil ausreichend hoch sein, damit er nicht überflossen werden kann. Weitere mögliche Einwirkungen sind Anprallkräfte von Einzelkomponenten. Wichtig ist, bei jeder Schutzmassnahme die Verlagerung der Gefährdung auf andere Grundstücke zu vermeiden.

Die Wirkungshöhe hwi ist wie folgt definiert:
Die Stauhöhe eines Murgangs beim Anprall auf ein undurchlässiges Objekt:
Der hydrodynamische Druck qf auf eine im Winkel a angeströmte Wand ist abhängig von der Geschwindigkeit und der Dichte des Murgangs, dem Ablenkwinkel und dem Druckbeiwert cρ (cρ=1 für stark schiessende Murgänge; cρ=2 für schiessende Murgänge; cρ=4 für strömende Murgänge):
Die Dichte ρm beträgt 1600-1800 [kg/m3] bei feinkörnigen Murgängen bis 2100 [kg/m3] bei grobblockigen Murgängen.
Parallel zur Fliessrichtung stehende Seitenwände sind mit einem Druck zu bemessen, welcher sich bei einer Ablenkung des Feststoffmateriales um α = ±20° ergibt.
Druck aus hydrodynamischer und hydrostatischer Beanspruchung:
Bei Murgängen aus Gerinnen ist nachfolgend zur dynamischen Beanspruchung durch den Murganganprall eine hydrodynamische und hydrostatische Beanspruchung durch das nachfliessende Wasser zu erwarten (siehe Hochwasser). Ob diese hydrodynamischen und hydrostatischen Beanspruchungen für einzelne Gebäudeteile massgebend werden, ist im Einzelfall zu prüfen. Generell ist es wichtig, dass die betroffenen Bereiche der Gebäudehülle mechanisch möglichst robust und wasserdicht ausgestaltet werden.
Die vertikale Auflast des Feststoffmaterials auf überdeckten Bauten beträgt:
, respektive bei Überströmvorgängen:
Druck durch Reibung:
Reibungskräfte sind insbesondere bei Ablenkmassnahmen wie Spaltkeil und Leitmauern zu berücksichtigen. Die dabei auftretenden Kräfte (spezifische Reibung) lassen sich mit der Schleppspannungsformel für Flüssigkeiten abschätzen:
Anprallkraft von Einzelkomponenten:
Bei Anprall von Einzelkomponenten aus Murgängen gelten für die Dichtigkeit des Bauwerks höhere Anforderungen, da die Tragwerksverformungen im elastischen Bereich bleiben müssen. Die statischen Ersatzkräfte Ak sind demensprechend höher anzusetzen gemäss untenstehender Tabelle.
Statische Ersatzkräfte infolge Anprall bei Hochwasser und Murgängen
Masse m [kg] | Geschwindigkeit vn [m/s] |
Energie Etrans [kJ] |
statische Ersatzkraft Ak [kN] |
100 |
2 | 0.2 |
40 | 2 |
100 |
4 |
0.8 |
150 | 9 |
100 |
6 |
1.8 |
290 | 14 |
500 |
2 |
1 |
190 | 12 |
500 |
4 |
4 |
770 | 46 |
500 |
6 |
9 |
1440 | 70 |
1000 |
2 |
2 |
390 | 23 |
1000 |
4 |
8 |
1500 | 90 |
1000 |
6 |
18 |
2900 | 140 |
Diese Einzellasten sind gleichzeitig wirkend mit der Belastung qf des Murganges anzunehmen. Sie können an beliebiger Stelle der Fliesshöhe des Murganges auftreten und verteilen sich gleichmässig über die gesamte Anprallfläche A.
Je nach Zusammensetzung des Murgangs (Wasseranteil, Art und Grösse der mitgerissenen Feststoffe) und Ablauf des Ereignisses (Fliessgeschwindigkeit und -höhe beim Anprall) können an Gebäuden ähnliche Schäden entstehen wie bei Hochwasser, respektive Hangmuren.
Konzeptionelle und verstärkende Massnahmen können das Personen- und Sachwertrisiko erheblich senken. Schutz für ein Gebäude erreichen Sie beispielsweise, indem Sie es optimal im Gelände platzieren oder eine geeignete Gebäudeform und -ausrichtung wählen. Vermeiden Sie Öffnungen in der murgangseitigen Aussenwand oder schützen Sie sie entsprechend. Sehen Sie zudem im Bereich der betroffenen Aussenwände nur Räume mit kurzer Aufenthaltsdauer von Personen vor. Planen Sie Aussenwände und Öffnungen in verstärkter Bauweise und dichten Sie den potentiell betroffenen Bereich ab.
Vorschläge für den Schutz einzelner Bauteile und zum konzeptionellen Vorgehen:
ASTRA (2012): Naturgefahren auf den Nationalstrassen: Risikokonzept. Methodik für eine risikobasierte Beurteilung, Prävention und Bewältigung von gravitativen Naturgefahren auf Nationalstrassen, Bundesamt für Strassen, Bern.
BAFU [Hrsg.] ( 2016): Schutz vor Massenbewegungsgefahren. Vollzugshilfe für das Gefahrenmanagement von Rutschungen, Steinschlag und Hangmuren. Bundesamt für Umwelt, Bern. Umwelt-Vollzug Nr. 1608: 98 S.
Egli, Th. (2005): Wegleitung Objektschutz gegen gravitative Naturgefahren. Vereinigung Kantonaler Feuerversicherungen, Bern.
PLANAT (2009): Risikokonzept für Naturgefahren. Nationale Plattform Naturgefahren, Bern.
Präventionsstiftung der Kantonalen Gebäudeversicherer (2014): Prevent-Building – eine Methodik und ein Werkzeug zur Beurteilung der Wirksamkeit und Zumutbarkeit von Objektschutzmassnahmen an Gebäuden gegen gravitative und meteorologische Naturgefahren. Bericht Phase 1 mit Anpassungen aus Phase 2. Arbeitsgemeinschaft Prevent-Building: WSL-Institut für Schnee- und Lawinenforschung SLF, Egli Engineering AG, Geotest AG, B,S,S,. Volkswirtschaftliche Beratung, Version 12.05.2014. (Download)
Suda J. und Rudolf-Miklau F. (Hrsg.) (2012): Bauen und Naturgefahren, Handbuch für konstruktiven Gebäudeschutz. Springer, Wien.
BWW (1997): Empfehlungen Berücksichtigung der Hochwassergefahren bei raumwirksamen Tätigkeiten. Bundesamt für Wasserwirtschaft / Bundesamt für Raumplanung / Bundesamt für Umwelt, Wald und Landschaft, EDMZ, Bern.
Böll, A. (1997): Wildbach- und Hangverbau. Bericht Nr. 343, Eidg. Forschungsanstalt für Wald, Schnee und Landschaft, Birmensdorf.
BWK (2005): Mobile Hochwasserschutzsysteme - Grundlagen für Planung und Einsatz. Bund der Ingenieure für Wasserwirtschaft, Abfallwirtschaft und Kulturbau (BWK), Sindelfingen.
Egli, Th. (1996): Hochwasserschutz und Raumplanung. ORL-Bericht Nr. 100, vdf Hochschulverlag an der ETH, Zürich.
FEMA (1986a): Floodproofing Non-Residential Structures. Publication No. 102, Federal Emergency Management Agency, Washington D.C.
FEMA (1986b): Retrofitting Flood-prone Residential Structures. Publication No. 114, Federal Emergency Management Agency, Washington D.C.
Fachkommission Technischer Elementarschutz (FTE) (2012): Themenblatt 1-1, Bewertung der Erstellungssicherheit von temporären Objektschutzmassnahmen, Bern. (Excel Bewertungsblatt)
GEO (2000): Review of Natural Terrain Landslide Debris-Resisting Barrier Design. Geotechnical Engineering Office, Geo Report No. 104, Civil Engineering Department, the Government of the Hong Kong Special Administrative Region.
Hochwasserschutzfibel (2018): Objektschutz und bauliche Vorsorge. 8. Auflage. Bundesministerium des Innern, für Bau und Heimat, Berlin.
IKSR (2002): Hochwasservorsorge – Massnahmen und ihre Wirksamkeit. Internationale Kommission zum Schutz des Rheins, Koblenz.
Kohli, A. (1998): Kolk an Gebäuden in Überschwemmungsebenen. Mitteilung Nr. 157, Versuchsanstalt für Wasserbau, Hydrologie und Glaziologie, ETH, Zürich.
Kölz, E., In-Albon, Ch. (2012): Statische Probleme bei Hochwasserschutzmassnahmen, Risk&Safety AG, Aarau. (unveröffentlicht).
Rickenmann, D. (2014): Methoden zur quantitativen Beurteilung von Gerinneprozessen in Wildbächen. WSL Berichte, Heft 9, 2014. ISSN 2296-3456
Rickenmann, D. (1995): Beurteilung von Murgängen. Schweizer Ingenieur und Architekt, Nr. 48, Zürich.
Suter, U. (2013): Definition der Schutzhöhe beim Objektschutz Hochwassergefahren, Suter Hydro Engineering AG, Meilen.
USACE (1992): Flood Proofing Regulations. US Army Corps of Engineers, Publication No. 1165-2-314, US Government Printing Office, Washington.
Vanomsen, P. (2011): Wasserdichte Türen und Fenster – Übersicht der Normenwerke und ausgewählte Bauprodukte, Egli Engineering AG, St. Gallen und Bern.
VDI (2006): Schutz der Technischen Gebäudeausrüstung - Hochwasser - Gebäude, Anlagen, Einrichtungen. Verein Deutscher Ingenieure, VDI Richtlinie 6004, Düsseldorf.
VKF/BWG (2004): Entscheidungshilfe Mobiler Hochwasserschutz. Vereinigung Kantonaler Feuerversicherungen, Bern, Bundesamt für Wasser und Geologie, Biel.
WSL (2020): Praxishilfe Murgang- und Hangmurenschutznetze. Im Auftrag des Bundesamtes für Strassen ASTRA und des Bundesamtes für Umwelt BAFU, WSL Berichte, Heft 102.